由于該產品已進行多次功能升級和更新迭代,我們不保證Metroking系列最高精密三坐標測量機提供的圖片和各項參數等信息均為最新,我們建議您點擊此處聯系我們的在線工程師為您服務,同時我們也歡迎您電話咨詢:!
Metroking系列三坐標測量機,集合多年高精度測量機研發與生產經驗,經過各行業不同的應用驗證,其無與倫比的精度穩定性堪稱高精度三坐標測量機的典范,可滿足精密零部件檢測與高精度曲面掃描、計量室以及標準檢具的檢定。
Metroking系列數控高精度三坐標測量機采用全花崗巖結構、有限元分析、固定龍門式設計從而使測量機整體保持了高穩定性與高可靠性。
全花崗巖橫梁、整體基座、立柱工作臺、Z軸形成整機全封閉框架結構,具有高穩定性、不易變形、熱穩定性高等特點。
Metroking系列三坐標測量機三軸均采用先進的柔性鋼絲同步齒型帶傳動,整機運動無任何噪音、定位快速準確、不打滑、長壽命。
Y軸采用高精度整體雙燕尾導軌、三軸均為中心驅動、高分辨率光柵尺中心安裝使各軸運動的俯仰、偏擺得到Zui大限度抑制,且產生Zui小的阿貝誤差。采用世界名牌大功率電機及伺服驅動器,大大改善運動控制特性,測量機加速、制動、運行更快速平穩。
采用進口氣動系統,Z軸氣動平衡,可靠、平穩提高定位精度,三級精密過濾系統,超高過濾精度,確保導軌長壽命,進口高柔性拖鏈、電纜保證電氣系統的長壽命。整機穩定可靠,全花崗巖構件使測量機獲得極長使用壽命和非常高的投資回報率。
Metroking系列三坐標測量機可配置RENISHAW公司全系列觸發式及接觸式掃描測頭,也可配置LS系列激光線掃描測頭、高精度激光點掃描測頭、LV系列高分辨率CCD數字光學影像測頭實現高精度復雜曲面高速掃描(逆向工程)、微小尺寸高精度非接觸測量等任務。
?
由于該產品已進行多次功能升級和更新迭代,我們不保證Metroking系列最高精密三坐標測量機提供的圖片和各項參數等信息均為最新,我們建議您點擊此處聯系我們的在線工程師為您服務,同時我們也歡迎您電話咨詢:!
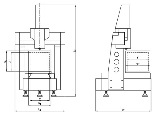
Metroking系列三坐標測量機性能指標

| MODEL 型號 | STROKES | MEASURING ACCURACY 精度指標 | OVERALL SIZE | WORK ENVELOPE | WEIGHT 系統凈重 | PART WEIGHT 被測工件Zui大重量 | |||||||
| 行程范圍 | ISO10360-2:2001/GB/T16857.2-2006 | 主機外廓尺寸 | 允許工件尺寸 | ||||||||||
| X | Y | Z | S | Lx | Ly | Lz | Wx | Wy | Wz | ||||
| mm | mm | mm | MPEE(um) | MPEP(um) | mm | mm | mm | mm | mm | mm | kg | kg | |
| NCF553 | 500 | 500 | 300 | from 1.0+L/400 | from 1.0 | 1600 | 1400 | 2550 | 600 | 600 | 400 | 6000 | 300 |
| NCF564 | 500 | 600 | 400 | from 1.0+L/400 | from 1.0 | 1600 | 1600 | 2750 | 600 | 700 | 500 | 6200 | 350 |
| NCF575 | 500 | 700 | 500 | from 1.2+L/400 | from 1.2 | 1600 | 1800 | 2950 | 600 | 800 | 600 | 6800 | 500 |
| NCF686 | 600 | 800 | 600 | from 1.2+L/400 | from 1.2 | 1700 | 2000 | 3150 | 700 | 900 | 700 | 7200 | 600 |
| NCF8106 | 800 | 1000 | 600 | from 1.5+L/350 | from 1.5 | 1900 | 2400 | 3150 | 900 | 1100 | 700 | 7800 | 700 |
| NCF10126 | 1000 | 1200 | 600 | from 1.5+L/350 | from 1.8 | 2100 | 2800 | 3150 | 1100 | 1300 | 700 | 9800 | 800 |
環境條件要求:
電源電壓(Power Voltage):220V 溫度范圍(Temperature Range):18-22℃
空氣壓力(Air Pressure):0.7-1.0Mpa 溫度變化(Hourly Temperature Cycle):1℃/h
過濾精度(Filter Accuracy):0.3μm 溫度梯度(Thermal Gradient):1℃/m
空氣流量(Air Supply):0.12-0.45m3/min 濕度范圍(Relative Humidity):55%-65%